欢迎您 本站地址:  
首页   综合分享   源码分享   [PHP]Discuz新秀网络验证收费系统框架 v6.2-空若网


空若网
空若网
空若网
空若网
Discuz新秀网络验证收费系统框架是由PHP+MYSQL语言开发,纯API接口,可快速对接外部app、web、各类软件开发;
本框架采用成熟稳定的Discuz3.4论坛系统,MVC框架环境下开发;
本框架无缝整合Discuz用户系统内置功能,采用插件形式开发的独立框架、分离代码、支持二次开发扩展;
通过本框架,可无限扩展数据输出接口,通过外部访问api接口,对数据进行操作、输出等功能;
本系统所有功能实现及控制均采用api外部接口,数据输出形式以JSON为主,可接收外部GET、POST参数;
客户端支持Python、Java、C、易语言、PHP、易安卓、火山移动、部分游戏开发引擎、等所有主流开发语言。
适用环境:
PHP版本>5.6以上;
DISCUZ版本>3.0以上;
MYSQL版本>5.5以上;
框架流程:
客户端:通过框架协议将数据提交到入口文件;
服务端-控制器:接到数据后,通过控制流程进行分流;
服务端-模型:接到分流指令,进行模块化数据处理;
服务端-视图:接到处理后数据,通过JSON返回客户端接收;
框架处理流程:传入数据–>入口文件–>控制器–>模型处理–>数据返回!
框架特色:
独立框架:独立开发的api专用框架协议,采用DB、原生代码三种方式独立封装核心库,不附带任何多余指令,代码简洁、速度快;
代码分离:本框架下所有代码与discuz框架分离,与discuz版本和其他插件不冲突,原生代码不对数据库有任何非官方流程操作,保证数据和结构逻辑不被破坏;
独特加密:本框架下采用动态双向、可自定义加密技术,有效保证token值保持动态变化验证技术,此加密技术可以添加特征码、干扰码。另外根据自身情况,可定制个人加密方式来强化,更是天衣无缝,世界唯一的个人专用加密技术;
动态验证:在独特加密的基础上应运而生动态时效,设定密文有效时间,时间一到必须重新更新验证数据,每一次更新密文都不一样,确保数据安全;
参数防护:数据传输都经过discuz安全机制进行过滤,但是discuz对参数负值、字符串转义过滤不严谨,容易造成错误,本框架强化数值、字符串的格式化,有效封堵恶意注入攻击!
核心处理:本框架核心逻辑、验证功能均在框架内处理,有效杜绝因外部软件安全等级低,被破解导致的逻辑错误,造成的安全隐患;
二次扩展:本框架可以在discuz框架内功能范围内,无限扩展任何自定义逻辑功能,也可以对discuz框架内所有功能模块,以及所有插件进行数据操作和调用;
访问验证:本框架结合discuz框架内置禁止IP、禁止访问会员组功能,实现对代理IP、会员组登录控制;
时间验证:本框架通过客户端时间与服务端时间进行验证,保证数据逻辑安全;
文件验证:本框架通过自定义客户端md5签名验证,确保客户端文件的完整性,有效防止对文件的破解、更改;
收费模式:扣点模式、购买用户组模式、计时扣费模式;
充值功能:结合discuz框架内置充值、充值卡功能,对用户进行积分充值;
代理功能:结合discuz框架内置充值、充值卡功能,用户可申请售卡打折权限,获取分红;
推广功能:结合discuz框架内置推广邀请人,被邀请人使用充值卡充值时,邀请人获取一定比例奖励;
心跳包功能:返回用户在线活动,验证机器码,对过期未发送心跳包进行下线处理;
变量功能:提供强大的远程变量、私人变量,单个变量理论可存储数据4G,让开发者更完美的开发软件;
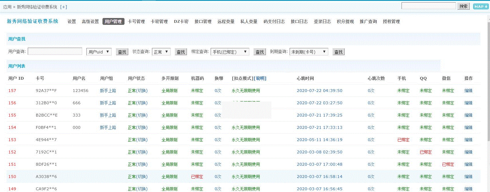
卡号登陆:实行卡号直接登陆,与帐号绑定,卡号状态设置,独立控制更方便管理;
接口控制:强大的接口控制系统,每个接口独立设置每秒、每小时访问上线,并进行处理;
整合接口:本框架下通过自定义接口功能,添加外部api调用接口,通过本框架进行数据调用,扩展更强功能;
接口模块:
登录模块:用户登录、插件配置、注册用户;
用户模块:用户信息、扩展信息、获取头像;
积分模块:积分增减;
好友模块:消息发送、好友信息;
充值模块:积分充值;
代理模块:提卡销售;
扩展模块:新增用户扩展数据存储、备注;
调用模块:帖子调用、会员排行;
日志模块:接口日志:
提现模块:申请提现、后台打款;
用户组模块:购买、充值、切换;
论坛模块:列表、发帖、回帖
排行模块:会员积分排行、扩展资料排行
手机模块:短信发送、手机绑定账号、手机登录
QQ模块:QQ登录
其他功能下载体验……
功能定制:
接口定制:除常用接口外,对discuz内置框架内数据进行,逻辑型调用、修改;
外部定制:对第三方插件进行数据数据调用、修改;
功能扩展:第三方外部接口、官方自供接口;
使用说明:
首先必须确保服务器安全、管理员账号安全、ftp密码安全、mysql密码安全,因为这些被破解后网站任何文件、数据都不安全了;
在电脑及手机软件开发时,对传输密钥、api明文接口、参数,建议要进行dll封装调用,这样能极大的保护接口安全;
在软件开发时要充分的做好软件逆向、调试判断,结合框架本身文件md5签名以及其他保护措施、加壳等操作确保软件安全;
对传输密钥、插件源码必须要保密,严禁外泄,尽量不要让别人知道你用的什么网络验证系统;
接口使用前,要认真查看接口文档,多次调试成功后方可使用,如发现调试bug及时向作者反馈修复;
ID:73236

×

空若网-温馨提示


您尚未登陆

请登陆后在来吧




空若网-随机推荐
温馨提示 扫描下方二维码,访问手机版。